Špeciálne tvarovky
Tabuľka rozmerov
* pre získanie presných cien prosím vložte produkt do košíka a odošlite prostredníctvom neho žiadosť o cenovú ponuku.
Špecifikácia produktu
| Dodávateľ: | Wavin |
| Kategória: | Špeciálne tvarovky |
| Rozmery: | viď tabuľka |
Popis
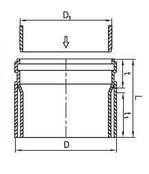
Prechodka z PVC potrubia do kameninového hrdla.

| Číslo artiklu | DN | D | t | t1 | L |
| mm | |||||
| KGUSM100 | 110 | 132 | 76 | 75 | 104 |
| KGUSM125 | 125 | 160 | 82 | 75 | 106 |
| KGUSM160 | 160 | 187 | 100 | 75 | 109 |
| KGUSM200 | 200 | 242 | 120 | 80 | 235 |
Potrubia
Tvarovky
Liatinové tvarovky
Armatúry
Hydranty
Šachty a nádrže
Poklopy
Čerpadlá
Rôzne
Potrubia
Tvarovky
Armatúry
Šachty
Poklopy a mreže
Liatinové poklopy
Poklopy kompozitné a plastové
Čerpadlá
Rôzne
GEBO
Priemyselné armatúry
Priemyselné potrubné rozvody
Spojky
Vpusty
Odvodňovacie žľaby
Závlaha
Hurner
Tag