Mechanické spojky pre potrubia
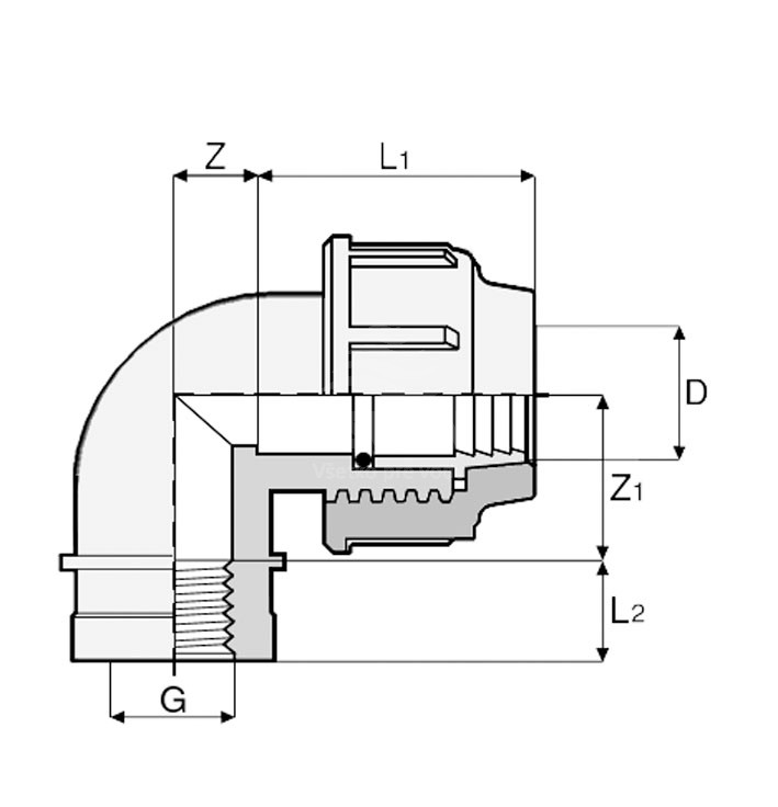
Tabuľka rozmerov
* pre získanie presných cien prosím vložte produkt do košíka a odošlite prostredníctvom neho žiadosť o cenovú ponuku.
Špecifikácia produktu
| Kategória: | Mechanické spojky pre potrubia |
| Rozmery: | viď tabuľka |
Popis
Mechanická spojka - koleno 90° s vnútorným závitom
- Mechanické spojky z polypropylénu (PP) slúžia na spájanie polyetylenového (PE) potrubia.
- Je možné spájať všetky druhy polyetylénu ( PEHD,PEMD, PELD ).
- Tvar závitov tvaroviek vylučuje utiahnutie cez závit a jeho prípadné uvoľnenie v dôsledku vibrácií.
- Jednoduchá montáž umožňuje rýchle spájanie a rozoberanie potrubia.
- Pri tvarovkách do priemeru 63 mm je postačujúce utiahnutie spojou rukou.
- Pri tvarovkách nad priemer 63 mm sa doporučuje používať uťahovací kľúč.
- Sú vyrobené z čierneho polypropylénu PP
- Tvarovky nie sú vhodné na horúcu vodu.
- Tesnenie typ NBR.
- Spojky sú stabilizované proti UV žiareniu.
- Maximálny prevádzkový tlak = PN 16.

Potrubia
Tvarovky
Liatinové tvarovky
Armatúry
Hydranty
Šachty a nádrže
Poklopy
Čerpadlá
Rôzne
Potrubia
Tvarovky
Armatúry
Šachty
Poklopy a mreže
Liatinové poklopy
Poklopy kompozitné a plastové
Čerpadlá
Rôzne
GEBO
Priemyselné armatúry
Priemyselné potrubné rozvody
Spojky
Vpusty
Odvodňovacie žľaby
Závlaha
Hurner
Tag